截至发稿,南向资金净卖出额达160亿港元。
举报 第一财经广告合作,请点击这里此内容为第一财经原创,著作权归第一财经所有。未经第一财经书面授权,不得以任何方式加以使用,包括转载、摘编、复制或建立镜像。第一财经保留追究侵权者法律责任的权利。如需获得授权请联系第一财经版权部:banquan@yicai.com 相关阅读

372亿南向资金创纪录净买入,抄底港股“跟不跟”?|市场观察
市场焦点将会逐步转向业绩。
配资炒股 206 03-09 19:46

“AI颠覆论”下恒科年内跌超6%,近400亿南向资金逆势抄底
“AI时代不进则退的残酷性,在这一轮分化中体现得淋漓尽致。”
元股证券:ygzq.hk
港股风云 321 03-01 18:35

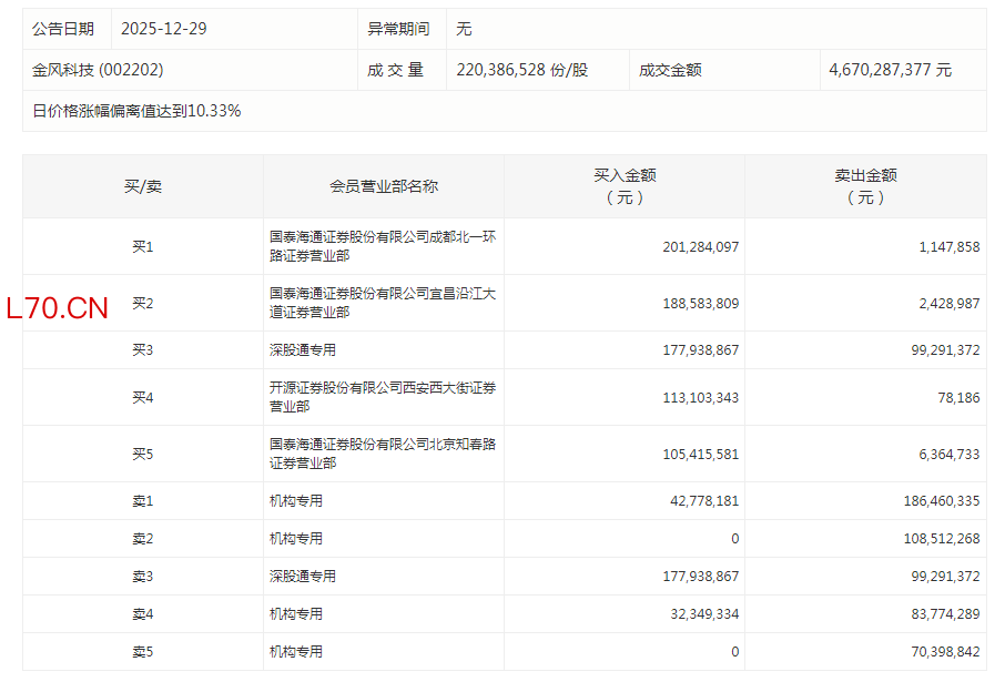
金风科技今日涨停 四机构净卖出3.74亿元
金风科技今日涨停 四机构净卖出3.74亿元
16 2025-12-29 17:28

5万亿后可能还有10万亿,南向资金点燃港股慢牛引擎
港股市场正成全球投资者分享中国核心资产成长红利的重要平台。

254 2025-11-19 21:09

恒指重上27000点,1.31万亿南向资金扫货港股
公募基金港股持仓市值同样大幅提升主力进出
120 2025-11-13 19:07 一财最热 点击关闭
青海配资网提示:本文来自互联网,不代表本网站观点。